Montblanc Patente und deren Ansprüche / Bedeutung
D.R.P. 652405 Patentiert im Deutschen Reich 21. Juni 1936
Dieses Patent beinhaltet das Verfahren und die Einrichtung zur Musterung von Füllfederhalterhülsen.
Hier ist beschrieben wie man die Streifen in Füllfederhalterhülsen die durchsichtig oder durchscheinend sind, einbringt.
Vorher war es nur möglich diese Streifen in einem aufwendigen Verfahren durch mehrere Schichten Celluloid welches durchsichtig ist und in Lagen zusammengebacken wurde, herzustellen.
Montblanc hat sich hier ein Verfahren patentieren lassen die dieses aufwendige Verfahren nicht notwendig macht. Es wurde unter Zuhilfenahme einer Hülse, welche in den transparenten Schaft gesteckt wurde und einer Flüssigkeit ( organische Lösung ) die dann durch diese gestreifte Innenhülse lief, die Streifenfenster erzeugt.
Diese Verfahren wurde erst abgelöst als es möglich war andere Kunststoffe als Celluloid für die Herstellung von Füllfederhalterhülsen zu verwenden. Das Zeitalter der Spritzgiesstechnik begann ca. in dem Wechsel 50er auf 60er Jahre.
Hier das Prinzip, das äußere gestrichelte soll die Federhalterhülse darstellen.

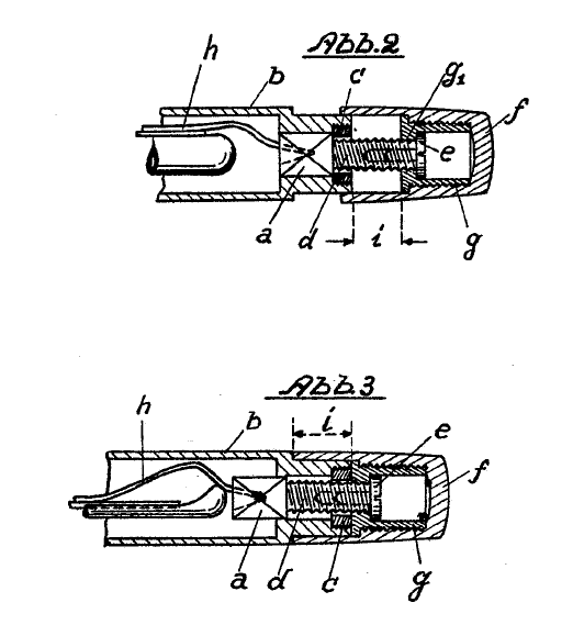
D.R.P. 508058 Patentiert im Deutschen Reich 5. September 1929
Dieses Patent beschreibt den Verschluß für selbstfüllende Federhalter
Am hinteren Teil eines Füllhalters ist immer eine Verschlusskappe angebracht die den Druckknopf gegen unbeabsichtigtes betätigen sichert. Hier wird beschrieben das diese Funktion auch erweitert werden kann und die Verschlußkappe eine Funktion aufweist.
In diesem Patent wird beschrieben das dieser Druckknopf fest mit der Verschlußkappe verbunden ist und die Auslösung der axial Bewegung auf die Federspange die den Gummischlauch zusammendrückt und den Füllvorgang einleitet.
Gar nicht so dumm, daher gibt es also den Unterschied push- button filler und push- knob filler
Die Abbildung zeigt das Prinzip de Patentes, den push- knob filler

D.R.P. 689598 Patentiert im Deutschen Reich 3. März 1937
Dieses Patent beschreibt:

Hierbei handelt es sich um das Patent für die Stylos

D.R.P. 746437 Patentiert im Deutschen Reich 23. Februar 1936
Dieses Patent beschreibt:
![]()
Also die gute und bewährte Kolbenmechanik wie wir sie aus den Füllhaltern bis 1960 kennen
.
Diese wurde immer aus Metall gefertigt, daher kann man die Mechanik auch sehr gut reparieren. Die Problematik liegt "nur" in dem zerlegen der Mechanik, da diese nicht dafür vorgesehen war das man eine Reparatur vornimmt.
D.R.P. 376387 Patentiert im Deutschen Reich 2. August 1921
Die Anmelder und das Patent

Auch dieser Stift ist ein guter alter Bekannter, simpel und einfach aufgebaut, funktioniert immer.

Und die Ansprüche nicht zu vergessen.
